数据丨2022年1-2月中国茶叶进出口数据
出口方面
据中国海关数据,2022年1-2月,中国茶叶出口量为63502吨,出口额为 35156.7万美元。



2022年1-2月中国茶叶出口量、额统计表


2022年1-2月中国茶叶主要外销国家/地区


2022年1-2月中国茶叶出口量前10省市


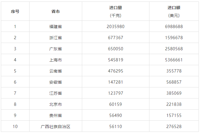
进口方面
据中国海关数据,2022年1-2月,中国茶叶进口量为4870吨,进口额为1903万美元。
2022年1-2月中国茶叶分茶类进口数据


2022年1-2月中国茶叶主要进口国家/地区


2022年1-2月中国茶叶进口量前10省市


了解更多中国茶叶进出口数据相关内容,请识别二维码咨询。
